• Hallo Gast, wir suchen den Renner der Woche 🚴 - vielleicht hast du ein passendes Rennrad in deiner Garage? Alle Infos

Neues Canyon Ultimate 2022

Abgesehen davon, dass der Canyon-Rahmengrößenrechner "mehr Ahnung" hat als 85% der Bikehändler. Es werden immer noch haufenweise zu große oder sonstwie unpassende Bikes verkauft, hanebüchene Weisheiten erzählt, und von der Aushilfskraft drauflosberaten, die gerade Zeit hat. Wer hat heut schon noch Bock auf beratungsintensive Rennradkunden, wenn er in 15 Minuten ein E-Bike für den gleichen Preis verschachern kann.
Vollkommen richtig. Schade aber richtig.
 
Es mag auch ganz simple technische Gründe haben, die du und ich ohne Einblick in die Entwicklung nicht nachvollziehen können.
Oder auch Qualitätssicherung im Sinne und zum Wohle des Kunden. Zumindest kann man so argumentieren. Wenn nur mein System zueinander passt, ist auch gewährleistet, dass es aus meinem qualitätsgesicherten Hause kommt, so man diesen Anspruch hat.
 
Abgesehen davon, dass der Canyon-Rahmengrößenrechner "mehr Ahnung" hat als 85% der Bikehändler. Es werden immer noch haufenweise zu große oder sonstwie unpassende Bikes verkauft, hanebüchene Weisheiten erzählt, und von der Aushilfskraft drauflosberaten, die gerade Zeit hat. Wer hat heut schon noch Bock auf beratungsintensive Rennradkunden, wenn er in 15 Minuten ein E-Bike für den gleichen Preis verschachern kann.
da ist aber auch canyon nicht besser . ohne mtb news hätte ich mein mtb dort eine nummer kleiner gekauft .
ich mag die canyon räder aber finde die überentwicklung schade . die probleme sieht man ja.
 
Sehr simpel gedacht.. Alles was ich nicht verstehe, ordne ich einfach in der Kategorie "Verschwörung" ein.
Jetzt bin ich mal gespannt, wer mir die technischen Vorteile einer zweigeteilten Gabel von Canyon erklären kann. Warum tut das denn niemand anderes, wenn es so viel besser wäre?
Man kann jeden beliebigen Hersteller für Canyon einsetzen, Sonderkonstruktionen haben nicht immer technische oder physikalische Vorteile. Es geht oft einfach nur um Kundschaft.
Man könnte jetzt noch Direct Mount Kettenblätter als Beispiel nehmen. Auch da kann man sich nicht auf einen Standard einigen. Die Verzahnung zwischen Kurbel und Welle ist von Hersteller zu Hersteller auch verschieden. Zufall?
 
Warum tut das denn niemand anderes, wenn es so viel besser wäre?

https://de.wikipedia.org/wiki/Patent
Erinnert sich noch jemand, wie das früher war, wenn man mal Kurbeln abnehmen, sorry, abziehen musste? Was für ein Gemurkse mit verschiedensten Abziehern an festsitzenden Vierkanten oder sonstigen Aufnahmen.. dann hatten ein paar Japaner mal wieder eine Idee, und seither machste das Gleiche mit nem 5er Inbus. Warum haben das nicht vorher schon alle gemacht? Musste halt erst erfunden werden.
 
Übrigens würde ich drauf wetten, dass genau das der nächste heiße Scheiss wird.. das ganze vollintegrierte Gemölle halt auch wie selbstverständlich verstellen können, in alle Richtungen. Niemand hat Bock auf Versorgung des Kunden mit verschiedensten Anbauteilen, Lagerhaltung, am besten noch über längere Zeiträume. 2023er Modell raus, abverkaufen, Kunde glücklich, fertig. Sitz- und Lenkerverstellung wie im Auto, da hat man sich ja auch dran gewöhnt, die Lenksäule rein- und rausziehen zu können. Wird kommen, bzw. ist ja schon da.
 
Jetzt bin ich mal gespannt, wer mir die technischen Vorteile einer zweigeteilten Gabel von Canyon erklären kann.

Höhenverstellung des Cockpits ohne irgendwas auseinander zu bauen oder absägen zu müssen.
Dafür dass du hier immer so auf die Kacke haust, bist du ziemlich schlecht informiert.
 
Vierkant war bis zu einer bestimmten Achslänge ausreichend steif. Montage und Demontage mal außen vor. Wir wissen doch; größere Durchmesser sind biegesteifer.
Die Erfahrung hat jedes Kind gemacht; dünne Äste lassen leichter brechen als dickere.
Deswegen war die Hohlwelle auch eine technische Verbesserung.
Seitenzugbremse vs. Dual Pivot oder Direct Mount Felgenbremse. Auch da ist der technische Vorteil belegbar. Schnellspanner vs. Steckachse genau das gleiche.
Natürlich hat sich die Technik weiter entwickelt. Nur wenn kein technischer Vorteil belegbar ist, oder er zu vernachlässigen ist, was könnten dann Gründe sein?
Bei inkompatibelen Sonderbauten würde ich mich immer nach dem Grund fragen.
 
Bei inkompatibelen Sonderbauten würde ich mich immer nach dem Grund fragen.
Neben dem schon erwähnten Wettbewerbsvorteil durch Innovation, zum Beispiel bessere Verstellbarkeit, werden auch Zulieferer immer flexibler und können immer ausgefallenere Wünsche in kleinen Stückzahlen erfüllen, Stichwort 3d-Druck. Da muss sich nicht irgendeine Gussform per 1 Million Stück rentieren; einmal programmiert, kommt das Plastik-/Metallteil da raus.
 
Höhenverstellung des Cockpits ohne irgendwas auseinander zu bauen oder absägen zu müssen.
Dafür dass du hier immer so auf die Kacke haust, bist du ziemlich schlecht informiert.
Wie oft verstellst Du denn täglich/wöchentlich die Höhe?
Absägen ist jetzt auch kein übermenschlicher Kraftakt.
War das nicht bei dieser Gabel ein Riesenproblem mit Lagerwechsel?
Aber auch da hat Canyon mitgedacht. Man gibt entnervt auf, verkauft das Rad oder wirft es weg und kauft ein neues. Clever, oder?
Ich, schlecht informiert? Im Verkauf und Marketing musste ich zugeben dazulernen.
Denke eher im Sinne des Kunden.
Meine Selfmade-Teile aus Alu, Glas- und Kohlefaser, usw. halten immer noch. Ein gewisses Grundwissen und technisches Verständnis muss also zwangsläufig da sein.
Genau deswegen fallen mir ja fragwürdige Konstruktionen auf.
 
Da muss sich nicht irgendeine Gussform per 1 Million Stück rentieren; einmal programmiert, kommt das Plastik-/Metallteil da raus.
Funktioniert aber bei Faserverbund nicht. Sowas kann nicht gedruckt werden. Außer vielleicht gehäckselte Kurzfasern oder gemahlenes Carbon. Das hat aber wieder andere Eigenschaften. Gewebe drucken und gleichzeitig Epoxy, wie soll das funktionieren?
Selbst wenn; Aufwand, Kosten? Nicht für Fahrradtechnik rentabel. Da ist eine mehrteilige, verstellbare Lenker-Vorbau-Einheit deutlich kostengünstiger. Man muss sich dann nur noch Gedanken über Steifigkeit und Haltbarkeit machen. Einteilig ist für den Kräfteverlauf natürlich besser. Gewicht auch niedriger.
Vielleicht kennt jemand die gedruckte Titankurbel für über 5000. Wer kauft sowas? Und dabei handelt es sich nur um einen Werkstoff.

Sonderkonstruktionen müssen generell nicht schlecht sein. Zum Problem wird es nur wenn man nicht individuell anbietet. Und anderen Herstellern Nachbauten/Alternativen verbietet.
 
Zuletzt bearbeitet:
Maybe it helps!

Beim CP0018 geht es nicht primär um die Frage wie sinnvoll das Teil ist. Es wäre aber wichtig für so eine „Sonderkonstruktion“ mit Alleinstellungsmerkmal, dass sie zuverlässig und austauschfreundlich geliefert würde!

Und im Falle des vom User @Ivius beabsichtigten CP0018-Tauschs geht es weniger um die Frage, ob seine beabsichtigte Geoanpassung sinnvoll ist, sondern es geht primär darum, dass Canyon verpflichtet ist, Komponenten zum Tausch und Verkauf vorzuhalten.

Die hinhaltende Antwort auf seine Anfrage ist genau genommen ein Verstoß gen die UCI-Regelungen!

„Da das Cockpit nicht frei über die Webseite verkauft wird, werde ich dein Anliegen einmal in den technischen Bereich übergeben, damit geprüft werden kann, ob man dir eine Alternative anbieten kann. An dieser Stelle bitte ich dich um ein wenig Geduld da die Kollegen gut zu tun haben, dauert die Bearbeitung immer ein paar Tage und am Wochenende sind wir nicht besetzt."

Das CP0018 (in der verbesserten Version) wird schon seit 2021 verbaut. Canyon ist nach den Regularien der UCI verpflichtet, das Cockpit zeitnah im Verkauf anzubieten.

https://assets.ctfassets.net/761l7g...UCI_Technical_Regulation_-_20230126_-_ENG.pdf

(Vgl. §3 Commercialisation ARTICLE 1.3.006)

Auszug:

„All the components must be available commercially (i.e. available on the market or sold directly by the manufacturer) at the latest twelve months after their first use in competition. If such a deadline is requested and accepted by the UCI, the manufacturer must publicly announce that the product in
question is being used in competition and when it will be available for sale. In all cases the
product must be in a final stage of development, very similar to the product that will be
marketed......
No minimum production quantity or minimum price is defined for either bicycles or any
component parts.


Ich bin sicher, dass Canyon das CP0018 in „naher“ Zukunft auf seiner Webseite anbieten wird….die alten Cockpits waren ja auch im Angebot.
 
Zuletzt bearbeitet:
Wie oft verstellst Du denn täglich/wöchentlich die Höhe?
Absägen ist jetzt auch kein übermenschlicher Kraftakt.
Es gibt sehr viele, die sich lang nicht trauen, etwas zu sägen, "auf welche Höhe bloß".. oder die dann ein Problem mit dem Wiederverkauf haben, wenn's der Käufer gern rückenfreundlicher hätte. Dransägen? Denen kommt man jetzt entgegen, find ich super. Und bis auf den anders gearteten Lenkerbruch bei LeSamyn hat's ja auch gehalten, siehe zuletzt am Sonntag bei Paris-Roubaix.

Funktioniert aber bei Faserverbund nicht. Sowas kann nicht gedruckt werden. Außer vielleicht gehäckselte Kurzfasern oder gemahlenes Carbon. Das hat aber wieder andere Eigenschaften. Gewebe drucken und gleichzeitig Epoxy, wie soll das funktionieren?

Wer redet von Faserverbund, guck Dir mal ne Explosionszeichnung zum Beispiel von nem BMC im Vorbau-/Steuerbereich an, was da mittlerweile so an kleinteiliger Technik untergebracht wird. Vollintegration und Verstellbarkeit bedingen halt teils sowas. Wer's nicht will, fühlt sich im 80er Thread wohl.


1681403169063.png
 
Du denkst nicht im Sinne des Kunden, sondern nur bis zu deinem eigenen Horizont.

Ein Großteil der Kunden hat bei allem was über den Einbau der Räder hinaus geht schon Probleme. Beim Gedanken irgendwas abzusägen, machen die sich ins Hemd.
Auch in diesem Thread lassen sich zahlreiche Beispiele finden, wie wenig Ahnung viele haben. Da führt eine schleifende Bremsscheibe schon mal zu Ratlosigkeit. Im Parallelthread will jemand ein Rad zurückgeben weil er den Computerhalter nicht montiert bekommt.
Klingt witzig, aber solche Kandidaten gibts zu Tausenden. Als Direktversender, der sich nicht hinter Händlern verstecken kann, hast du dann logischerweise ein umso größeres Interesse Dinge zu vereinfachen.

Wie oft verstellst Du denn täglich/wöchentlich die Höhe?
Absägen ist jetzt auch kein übermenschlicher Kraftakt.
War das nicht bei dieser Gabel ein Riesenproblem mit Lagerwechsel?
Aber auch da hat Canyon mitgedacht. Man gibt entnervt auf, verkauft das Rad oder wirft es weg und kauft ein neues. Clever, oder?
Ich, schlecht informiert? Im Verkauf und Marketing musste ich zugeben dazulernen.
Denke eher im Sinne des Kunden.
Meine Selfmade-Teile aus Alu, Glas- und Kohlefaser, usw. halten immer noch. Ein gewisses Grundwissen und technisches Verständnis muss also zwangsläufig da sein.
Genau deswegen fallen mir ja fragwürdige Konstruktionen auf.
 
Aber warum ist das denn so, bzw. wie kam es dazu? Es gab Zeiten, da konnte so gut wie jeder die nötigsten Reparaturen selbst vornehmen. Sogar einspeichen, zentrieren, Reifen kleben, unterwegs improvisieren konnten nicht Wenige. An komplizierter Technik heute liegt das nicht.
Erlebe ich auch gelegentlich. Radsportler stehen hilflos mit einem 10.000€ Rad in freier Natur. Oder verzweifeln in der eigenen Werkstatt.
Man beschäftigt sich vielleicht vorher zu wenig mit dem gekauften.
Können muss man ja anfangs nichts. Wichtig wäre aber mindestens jemanden zu kennen, der etwas darüber weiß und von dem man lernen kann.
Ist aber in immer mehr Lebensbereichen so. Die Menschen werden immer unfähiger sich selbst helfen zu können. Man braucht für alles eine App, YouTube und Berater. Früher benutzte man einfach das Hirn oder fragte andere.
Als mich Fahrräder interessierten habe ich gelegentlich im Radladen ausgeholfen und Magazine geblättert. Oder einfach andere gefragt.
 
Das CP0018 (in der verbesserten Version) wird schon seit 2021 verbaut. Canyon ist nach den Regularien der UCI verpflichtet, das Cockpit zeitnah im Verkauf anzubieten.

https://assets.ctfassets.net/761l7g...UCI_Technical_Regulation_-_20230126_-_ENG.pdf

(Vgl. §3 Commercialisation ARTICLE 1.3.006)

Auszug:

„All the components must be available commercially (i.e. available on the market or sold directly by the manufacturer) at the latest twelve months after their first use in competition. If such a deadline is requested and accepted by the UCI, the manufacturer must publicly announce that the product in
question is being used in competition and when it will be available for sale. In all cases the
product must be in a final stage of development, very similar to the product that will be
marketed.



Ich bin sicher, dass Canyon das CP0018 in „naher“ Zukunft auf seiner Webseite anbieten wird….die alten Cockpits waren ja auch im Angebot.

Wer informiert jetzt die UCI über diesen Missstand ?
 
..Hauptsache, wir werden nicht langsam offtopic. 😏
Also dann mal zurück zum Ultimate 2022!

Möglicherweise gibt es ein Update für die mechanisch geschalteten Versionen des Canyon Ultimate CF SL. (Ob und wann????)

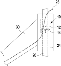
Canyon hat Patente für eine Gabel angemeldet, die für eine interne Zugführung von mechanischen und hydraulischen Leitungen geeignet ist:

“A bicycle fork including two fork legs connected with each other via a fork bridge. The fork bridge is connected with a steer tube. For a simpler arrangement of shift cables, hydraulic lines, cables and the like, the steer tube includes at least one flattening extending in the longitudinal direction of the steer shaft.

A cable guiding element for guiding cables such as Bowden cables, hydraulic lines and the like is arranged inside a bicycle frame, in particular inside a head tube of a bicycle frame. The cable guiding element has a particularly cylindrical sleeve element. In the assembled state, the sleeve element is arranged inside the head tube and surrounds a steer tube of a bicycle fork. For defining the position of at least one cable, at least one holding element is connected with the sleeve element.”

US20230035326A1-20230202-D00005.TIF_210x210.png
imgf0001.tif_210x210(2).png
US20230068536A1-20230302-D00000.TIF_210x210.png
 
Wer informiert jetzt die UCI über diesen Missstand ?
Gute Frage!
Vermutlich Jumbo Visma, damit beim Amstel Gold Race kein Alpecin-Deceuninck-Fahrer startberechtigt ist;)
Aber die Alena fährt jetzt erst mal bei ihrem Antrittsbesuch in China kurz bei QUEST COMPOSITES vorbei und fragt nach, warum das mit der Produktion der Cockpits so schleppend vorangeht.
 
Zuletzt bearbeitet:
Maybe it helps!

Beim CP0018 geht es nicht primär um die Frage wie sinnvoll das Teil ist. Es wäre aber wichtig für so eine „Sonderkonstruktion“ mit Alleinstellungsmerkmal, dass sie zuverlässig und austauschfreundlich geliefert würde!

Und im Falle des vom User @Ivius beabsichtigten CP0018-Tauschs geht es weniger um die Frage, ob seine beabsichtigte Geoanpassung sinnvoll ist, sondern es geht primär darum, dass Canyon verpflichtet ist, Komponenten zum Tausch und Verkauf vorzuhalten.

Die hinhaltende Antwort auf seine Anfrage ist genau genommen ein Verstoß gen die UCI-Regelungen!

„Da das Cockpit nicht frei über die Webseite verkauft wird, werde ich dein Anliegen einmal in den technischen Bereich übergeben, damit geprüft werden kann, ob man dir eine Alternative anbieten kann. An dieser Stelle bitte ich dich um ein wenig Geduld da die Kollegen gut zu tun haben, dauert die Bearbeitung immer ein paar Tage und am Wochenende sind wir nicht besetzt."

Das CP0018 (in der verbesserten Version) wird schon seit 2021 verbaut. Canyon ist nach den Regularien der UCI verpflichtet, das Cockpit zeitnah im Verkauf anzubieten.

https://assets.ctfassets.net/761l7g...UCI_Technical_Regulation_-_20230126_-_ENG.pdf

(Vgl. §3 Commercialisation ARTICLE 1.3.006)

Auszug:

„All the components must be available commercially (i.e. available on the market or sold directly by the manufacturer) at the latest twelve months after their first use in competition. If such a deadline is requested and accepted by the UCI, the manufacturer must publicly announce that the product in
question is being used in competition and when it will be available for sale. In all cases the
product must be in a final stage of development, very similar to the product that will be
marketed.



Ich bin sicher, dass Canyon das CP0018 in „naher“ Zukunft auf seiner Webseite anbieten wird….die alten Cockpits waren ja auch im Angebot.
Zugegebenermaßen weiß ich nicht viel über die UCI-Regularien, aber könnte es sein, dass nicht jedes Einzelteil im freien Verkauf sein muss, sondern dass es reicht, dass das Ultimate als Komplettrad mit CP0018 Cockpit im Handel verkauft wird?
 
Zurück